欢迎光临种业商务网
| |
手机版
商务中心
发布信息
排名推广
首页
资讯
品种
营销
供应
求购
人才
招商
企业
展会
图库
视频
知道
论坛
资讯
品种
营销
供应
求购
人才
招商
企业
展会
图库
视频
知道
高级
模糊搜索
热门搜索:
小麦
水稻
玉米种子
番茄
浚单
栽培
辣椒
大麦
菠菜
生菜
当前位置:
首页
»
资讯
»
财经
» 正文
今日玉米彻底疯狂,拍卖溢价250元/吨!
发布日期:2020-05-29 来源:微小麦圈 浏览次数:
297
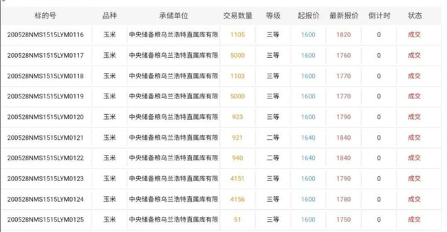
姗姗来迟的400万吨临储
玉米
拍卖今天终于来了,贸易商如饥渴的汉子,疯狂的全面开挂。
几乎每一单玉米没有不抢的,单单溢价。乌兰浩特有一单三等玉米竟然溢价250元每吨。
通过今天的玉米拍卖我想起了一句古话:久旱逢甘露,他乡遇故知。贸易商对玉米的亲切程度可想而知。
分享到:
微信
复制网址
QQ好友
QQ空间
更多
[
打印本文
] [
关闭窗口
] [
返回顶部
]
0
条
相关评论
同类资讯
• 2026年4月3日国内粮油市场行情信息
• 稻谷最低收购价定了!早籼稻(三等,下同)1.28
• 中东冲突对我化肥市场外溢影响有限 我国春耕化
• 2026年4月2日国内粮油市场行情信息
• 2026年4月1日国内粮油市场行情信息
• 2026年3月31日国内粮油市场行情信息
• 2026年3月30日国内粮油市场行情信息
• 全国玉米平均价格2.49元/公斤,同比上涨6.0%
• 2026年3月27日国内粮油市场行情信息
• 2026年3月26日国内粮油市场行情信息
推荐图文
高德荣研究员:在种子
河南7部门安排部署202
从能源到育种 我国人
热烈祝贺:中国种子协
统计赋能种业发展 河
中国种子协会国际合作
推荐资讯
农业农村部制定饲料中玉米豆粕减量替代技术方案
夏粮旺季收购顺利收官 市场活跃价格平稳
登海种业:受多重影响 玉米种子市场启动缓慢
隆平高科核心业务水稻种子销售大幅增长 净利猛增
中国油菜籽产量减半 恐重蹈大豆产业覆辙
农发种业:短期关注农垦改革政策催化
打击套牌加快行业景气底部反转
登海中报点评:先锋、登海、良玉系列的三重门
农业生产迎来“高成本时代” 化肥价格上涨15%
农业科技十二五发布 育种上市公司先受益
点击排行
春耕化肥市场观察:“稳”与“忧”之间的价格博弈
2026年3月20日国内粮油市场行情信息
2026年3月23日国内粮油市场行情信息
玉米强势上涨突破2400元
2026年3月26日国内粮油市场行情信息
2026年3月25日国内粮油市场行情信息
2026年3月27日国内粮油市场行情信息
全国玉米平均价格2.45元/公斤,同比上涨5.2%
2026年3月19日国内粮油市场行情信息
2026年3月30日国内粮油市场行情信息
网站首页
|
关于我们
|
版权隐私
|
使用协议
|
联系方式
|
广告服务
友情链接
|
申请链接
|
网站留言
©2008-2026 chinaseed114.com All Rights Reserved 种业商务网 版权所有